Deprecated: mysql_connect(): The mysql extension is deprecated and will be removed in the future: use mysqli or PDO instead in /data/5/c/5c18d4e9-50c1-44fb-bf98-8cd1106d2adc/legrandforum.sk/sub/m/funkcie/funkcie.php on line 11
Prepojenie vypinacov Valena n6 - n7 - n7 - n6 | legrandforum.sk

Prepojenie vypinacov Valena n6 - n7 - n7 - n6

pavol
Dobry den,

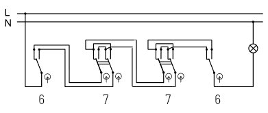
prosim o schemu prepojenia vypinacov valena n6 - n7 - n7 - n6 (v dokumentacii a na forume som nasiel len prepojenie n6 - n7 - n6).
Prosim uverejnit schemu s viacerymi vypinacmi n7 (minimale s 2x n7 medzi dvoma krajnymi n6).

Uz na forume tato otazka bola viackrat, ale nebola zodpovedana. V odpovedi bol len odkaz na zapojenie n6 - n7 - n6.

Dakujem.

Pavol

Legrand odpovedá

Dobrý deň,



schémy na 6-7-7-6 sú často nedostupné, lebo ďalší vypínač č.7 sa pripojí rovnako ako ten prvý vypínač č.7.

V prílohe posielam jednu 6-7-7-6 schému ktorá sedí aj na vypínače od Legrandu. 


V prípade ďalších otázok ma kontaktujte priamo na jozef.danis@legrand.com alebo na telefónnom čísle